一、森林火险监测站产品简介
TH-QC10森林火险监测站是一款高度集成、低功耗、可快速安装、便于野外监测使用的高精度气象观测设备。
该设备由气象传感器,采集器,太阳能供电系统,立杆支架,云平台五部分组成。免调试,可快速布置,广泛运用于气象、农业、林业、环保、海洋、机场、港口、科学考察、校园教育等领域。
二、森林火险监测站产品特点
1、低功耗采集器:静态功耗小于50uA
2、标配GPRS联网、支持扩展蓝牙、有线传输
3、7寸安卓触屏,版本:4.4.2、四核Cortex?-A7,512M/4G
4、支持modbus485传感器扩展
5、太阳能充电管理MPPT自动功率点跟踪
6、三米碳钢支架,两节法兰盘对接
7、短信报警,超限后向指定的手机上发送短信
8、ABS材质防护箱,耐腐蚀、抗氧化,防水等级IP66
三、森林火险监测站技术参数
1)采集器供电接口:GX-12-3P插头,输入电压5V,带RS232输出Json数据格式,采集器供电:DC5V±0.5V峰值电流1A,
2)传感器modbus、485接口:GX-12-4P插头,输出供电电压12V/1A,设备配置接口:GX-12-4P插头,输入电压5V
3)太阳能供电、配置铅酸电池,可选配30W 20AH/50W 40AH/100W 100AH.充电控制器:150W,MPPT自动功率点跟踪,效率提高20%
4)数据上传间隔:60s-65535s可调
5)7寸安卓触屏,屏幕尺寸:1024*600 RGB LCD
6)部分传感器参数
|
名 称 |
测量范围 |
分 辨 率 |
准 确 度 |
|
环境温度 |
-40~+60℃
|
0.1℃ |
±0.3℃ |
|
相对湿度 |
0~100%RH |
0.1% |
±2% |
|
光照强度 |
0-200000Lux |
1Lux |
±2% |
|
大气压力 |
300~1100hPa
|
0.1hPa |
±0.3hPa |
|
露点温度 |
-20~+50℃ |
0.1℃ |
±0.5℃ |
|
土壤温度 |
-50~+80℃ |
0.1℃ |
≤±0.2℃ |
|
土壤湿度 |
0~100% |
0.1% |
±2% |
|
土壤盐分 |
0-20ms |
±0.1ms |
±2% |
|
土壤PH |
0-14 |
0.1 |
±0.2% |
|
风 向 |
0~360°(16方向) |
1/16 |
<3°(>1.0m/s) |
|
风 速 |
0~70m/s |
0.1m/s |
±(0.3+0.03V)m/s |
|
雨 量 |
≦4mm/min |
0.01mm |
±0.2mm |
|
紫外辐射 |
0~70W/㎡ |
1W/㎡ |
±2% W/㎡ |
|
日照时数 |
0~24h |
0.1 h |
±2%h |
|
总辐射 |
0-2000W/m2 |
0.1W/m2 |
光谱范围:300-3000nm |
|
光合有效辐射 |
400~700nm |
灵 敏 度:10~50μv/μmol·m-2·s-1 |
|
7)生产企业具有ISO9001质量管理体系认证和计算机软件注册证书
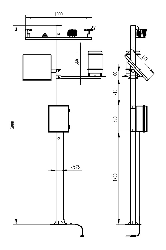
四、森林火险监测站产品尺寸图

五、森林火险监测站产品结构图
六、森林火险监测站上位机软件介绍
1、PC单机版数据接收、存储、查看、分析软件
2、支持串口数据接收、处理、展示
3、支持json字符串、modbus485等通信方式
4、可自设置存储时间,modbus485采集模式下可自设置采集时间
5、支持自助增加、删除、修改监测参数的协议、名称、图标等
6、支持数据后处理功能
7、支持外置运行javascript脚本
七、森林火险监测站安卓APP介绍
1、安卓单机版数据接收、存储、查看、分析软件
2、支持蓝牙数据接收
3、手机休眠后软件后台接收、处理
4、json数据自动添加设备,modbus设备支持扫码添加设备
5、支持历史数据查看、分析、导出表格,支持曲线展示、单数据点查看。
6、支持数据后处理功能
7、支持外置运行javascript脚本
八、森林火险监测站云平台介绍
1、CS架构软件平台,支持手机、PC浏览器直接观测、无需额外安装软件。
2、支持多帐号、多设备登录
3、支持实时数据展示与历史数据展示仪表板
4、云服务器、云数据存储,稳定可靠,易于扩展,负载均衡。
5、支持短信报警及阈值设置
6、支持地图显示、查看设备信息。
7、支持数据曲线分析
8、支持数据导出表格形式
9、支持数据转发,HJ-212协议,TCP转发,http协议等。
10、支持数据后处理功能
11、支持外置运行javascript脚本



